Kod QR
Mengenai kita
Produk
Hubungi Kami


Faks
+86-574-87168065

E-mel

Alamat
Kawasan Perindustrian Luotuo, Daerah Zhenhai, Ningbo City, China
SWC-BH Raydafon's Standard Flex Welding Type Coupling Universal direkayasa khusus untuk pemindahan tork tugas berat dalam menuntut senario jentera berat-memikirkan kilang rolling, kren, dan peralatan perlombongan yang beroperasi di bawah tekanan tinggi yang berterusan.
Ia dilengkapi dengan kuk yang dikimpal sebagai ciri reka bentuk utama, dan diameter gyrationnya merangkumi pelbagai praktikal: dari 180mm sehingga 620mm. Apa yang membezakannya untuk pekerjaan yang sukar adalah keupayaannya untuk mengendalikan misalignments sudut sehingga 15 darjah, dan ia boleh mengambil beban tork setinggi 1250 kN · m -baik kritikal untuk menjaga operasi stabil walaupun dalam keadaan kerja yang keras.
Membina kualiti difokuskan pada ketahanan: Gandingan menggunakan keluli 35CRMO kekuatan tinggi untuk ketangguhan tahan lama, dipasangkan dengan galas jarum ketepatan untuk memastikan prestasi yang lancar dan boleh dipercayai dari masa ke masa. Ini menjadikannya pilihan untuk dua keperluan utama: gandingan sejagat yang disesuaikan untuk jentera berat, dan gandingan universal yang dikimpal yang sesuai untuk aplikasi gred perindustrian.
Raydafon mengeluarkan gandingan ini di China, dan semua pengeluaran mengikuti piawaian ISO 9001 untuk menjamin kualiti yang konsisten. Di samping itu, ia menawarkan pilihan tersuai untuk memenuhi keperluan khusus -semua pada harga yang kekal berdaya saing untuk perniagaan yang mencari kebolehpercayaan dan nilai.
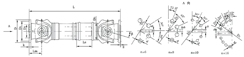
| Tidak | Gyration diameter d mm | Tork nominal Tn Kn · m | Sudut lipat paksi β (°) | Tork yang letih Tf Kn · m | Kuantiti flex Ls mm | Saiz (mm) | Berputar inersia KG.M2 | Berat (kg) | |||||||||||
| Lmin | D1 (JS11) | D2 (H7) | D3 | Lm | N-D | k | t | B (H9) | g | Lmin | Peningkatan 100mm | Lmin | Peningkatan 100mm | ||||||
| SWC58BH | 58 | 0.15 | 0.075 | ≤22 | 35 | 325 | 47 | 30 | 38 | 35 | 4-5 | 3.5 | 1.5 | - | - | - | - | 2.2 | - |
| SWC65BH | 65 | 0.25 | 0.125 | ≤22 | 40 | 360 | 52 | 35 | 42 | 46 | 4-6 | 4.5 | 1.7 | - | - | - | - | 3 | - |
| SWC75BH | 75 | 0.5 | 0.25 | ≤22 | 40 | 395 | 62 | 42 | 50 | 58 | 6-6 | 5.5 | 2 | - | - | - | - | 5 | - |
| SWC90BH | 90 | 1 | 0.5 | ≤22 | 45 | 435 | 74.5 | 47 | 54 | 58 | 4-8 | 6 | 2.5 | - | - | - | - | 6.6 | - |
| SWC100BH | 100 | 1.5 | 0.75 | ≤25 | 55 | 390 | 84 | 57 | 60 | 58 | 6-9 | 7 | 2.5 | - | - | 0.0044 | 0.00019 | 6.1 | 0.35 |
| SWC120BH | 120 | 2.5 | 1.25 | ≤25 | 80 | 485 | 102 | 75 | 70 | 68 | 8-11 | 8 | 2.5 | - | - | 0.0109 | 0.00044 | 10.8 | 0.55 |
| SWC150BH | 150 | 5 | 2.5 | ≤25 | 80 | 590 | 13 | 90 | 89 | 80 | 8-13 | 10 | 3 | - | - | 0.0423 | 0.00157 | 24.5 | 0.85 |
| SWC160BH | 160 | 10 | 5 | ≤25 | 80 | 660 | 137 | 100 | 95 | 110 | 8-17 | 15 | 3 | 20 | 12 | 0.145 | 0.006 | 68 | 1.72 |
| SWC180BH | 180 | 20 | 10 | ≤25 | 100 | 810 | 155 | 105 | 114 | 130 | 8-17 | 17 | 5 | 24 | 14 | 0.175 | 0.007 | 70 | 2.8 |
| SWC200BH | 200 | 32 | 16 | ≤15 | 110 | 860 | 170 | 120 | 127 | 135 | 8-17 | 19 | 5 | 28 | 16 | 0.31 | 0.013 | 86 | 3.6 |
| SWC225BH | 225 | 40 | 20 | ≤15 | 140 | 920 | 196 | 135 | 152 | 120 | 8-17 | 20 | 5 | 32 | 9 | 0.538 | 0.0234 | 122 | 4.9 |
| SWC250BH | 250 | 63 | 31.5 | ≤15 | 140 | 1035 | 218 | 150 | 168 | 140 | 8-19 | 25 | 6 | 40 | 12.5 | 0.966 | 0.0277 | 172 | 5.3 |
| SWC285BH | 285 | 90 | 45 | ≤15 | 140 | 1190 | 245 | 170 | 194 | 160 | 8-21 | 27 | 7 | 40 | 15 | 2.011 | 0.051 | 263 | 6.3 |
| SWC315BH | 315 | 125 | 63 | ≤15 | 140 | 1315 | 280 | 185 | 219 | 180 | 10-23 | 32 | 8 | 40 | 15 | 3.605 | 0.0795 | 382 | 8 |
| SWC350BH | 350 | 180 | 90 | ≤15 | 150 | 1410 | 310 | 210 | 267 | 194 | 10-23 | 35 | 8 | 50 | 16 | 7.053 | 0.2219 | 582 | 15 |
| SWC390BH | 390 | 250 | 125 | ≤15 | 170 | 1590 | 345 | 235 | 267 | 215 | 10-25 | 40 | 8 | 70 | 18 | 12.164 | 0.2219 | 738 | 15 |
| SWC440BH | 440 | 355 | 180 | ≤15 | 190 | 1875 | 390 | 255 | 325 | 260 | 16-28 | 42 | 10 | 80 | 20 | 21.42 | 0.4744 | 1190 | 21.7 |
| SWC490BH | 490 | 500 | 250 | ≤15 | 190 | 1985 | 435 | 275 | 325 | 270 | 16-31 | 47 | 12 | 90 | 22.5 | 32.86 | 0.4744 | 1452 | 21.7 |
| SWC550BH | 550 | 710 | 355 | ≤15 | 240 | 2300 | 492 | 320 | 426 | 305 | 16-31 | 50 | 12 | 100 | 22.5 | 68.92 | 1.357 | 2380 | 34 |
Apabila kita bercakap tentang peralatan perindustrian yang berat yang membuat kuasa mengalir dengan pasti, gandingan sendi universal SWC (sering dipanggil SWC Cardan Shaft Universal bersama gandingan) adalah bahagian yang tidak boleh dirunding. Anda akan mendapati ia bekerja keras dalam persediaan seperti rolling mills, angkat jentera, dan semua jenis sistem jentera berat yang sukar di mana pemotongan sudut pada penghantaran kuasa hanya bukan pilihan.
Pekerjaan utama? Sambungkan dua batang penghantaran yang tidak bersesuaian dengan sempurna (paksi bukan milik) dan pastikan kuasa terus bergerak tanpa halangan, walaupun keadaan operasi menjadi kasar. Tidak ada Stutters, tidak ada rehat -hanya pemindahan yang stabil apabila ia paling penting.
Mari kita memecahkan spesifikasi utamanya yang menjadikan prestasi ini mungkin:
Diameter gyration: berkisar dari φ58 hingga φ620, yang meliputi jangkauan keperluan industri yang luas.
Di manakah ia paling menonjol? Fikirkan operasi kilang rolling-di mana ia bertindak sebagai gandingan bersama sejagat yang boleh dipercayai yang memegang tekanan yang sengit. Atau dalam mengangkat dan peralatan pengendalian bahan, di mana sebagai gandingan aci sendi SWC yang tahan lama, ia menyimpan perkara yang stabil walaupun beban menjadi teruk. Ia bukan hanya berfungsi -ia terus beroperasi stabil apabila keadaan menjadi sukar.
Gandingan sendi Universal SWC tidak hanya dilemparkan bersama -ia direka bentuk dari bawah untuk berdiri teguh dalam tetapan perindustrian, dengan ciri -ciri yang meningkatkan prestasi dan panjang umur. Mari kita lihat apa yang menjadikan strukturnya berfungsi dengan baik.
Reka bentuk pintar, selamat
Pada terasnya adalah reka bentuk kepala garpu bersepadu -tidak ada kepingan berasingan yang dipegang bersama oleh bolt di sini. Ini penting kerana ia mengurangkan risiko bolt yang datang longgar atau mengetuk, sakit kepala yang biasa dengan persediaan lain. Malah, reka bentuk ini meningkatkan kekuatan struktur sebanyak 30% hingga 50% berbanding dengan gaya yang lebih tua. Bagi sesiapa yang bergantung pada gandingan bersama sejagat sejagat, ini bermakna kerosakan yang lebih sedikit apabila keadaan menjadi sengit. Ia adalah jenis gandingan bersama sejagat yang kuat yang terus berjalan lancar, walaupun dalam persekitaran tekanan tinggi di mana bahagian lain mungkin gagal.
Dibina untuk membawa beban
Ini bukan penyambung purata anda. Gandingan sendi universal yang berat SWC dibuat untuk mengendalikan gear perlombongan berat badan yang serius, jentera pembinaan, dan pemukul berat yang lain. Apabila anda memerlukan gandingan bersama sejagat yang lasak yang tidak akan kembali ke bawah tekanan, ini adalah yang menyampaikan. Ia bukan hanya saiz; Ini mengenai bahan dan kejuruteraan yang bekerja bersama -sama untuk mengambil kecederaan tanpa memakai cepat.
Bergerak kuasa dengan cekap
Pernah tertanya -tanya di mana semua tenaga berjalan dalam persediaan perindustrian besar? Tidak banyak yang dibazirkan di sini. Gandingan sendi universal yang tinggi ini mencecah tahap kecekapan sehingga 98.6%, yang bermaksud kurang tenaga hilang sebagai haba atau geseran. Untuk operasi yang ingin mengurangkan kos, itu adalah kemenangan besar. Ini jenis gandingan bersama sejagat yang cekap yang membuat perbezaan dalam sistem penghantaran kuasa yang besar, bertindak sebagai gandingan bersama sejagat yang boleh dipercayai yang membuat bil tenaga di cek.
Tenang dan mantap
Jentera yang kuat boleh menjadi masalah sebenar, terutamanya di ruang di mana bunyi bising. Gandingan sendi sejagat SWC menyimpan perkara yang tenang, dengan tahap bunyi biasanya antara 30-40 dB (a) -quieter daripada perbualan biasa. Itu menjadikannya gandingan sendi sejagat yang sangat rendah untuk persekitaran di mana menjaga bunyi adalah kunci, tanpa mengorbankan kebolehpercayaan yang anda perlukan. Sama ada di lantai kilang atau bengkel ketepatan, gandingan sendi sejagat yang lancar ini mendapat pekerjaan yang dilakukan tanpa raket.
Jenis kimpalan SWC-BH Standard Flex universal bukan sekadar satu lagi bahagian-ia adalah kerja keras yang dibina untuk menggerakkan kuasa dengan cekap, walaupun mesin berada di bawah tekanan berat. Mari kita hancurkan di mana ia benar -benar bersinar.
Ambil jentera berat dan gear pembinaan, sebagai contoh. Apabila anda berurusan dengan beban yang melampau dan getaran berterusan -penggali atau jentolak -butul -gandingan ini tidak mundur. Reka bentuknya yang dikimpal menambah ketangguhan tambahan, jadi ia mengatasi pilihan flimsier yang mungkin retak atau haus dari semua pergerakan itu. Ia adalah jenis gandingan sejagat yang tinggi yang menjadikan kuasa mengalir, tidak kira betapa kasar pekerjaan itu.
Di kilang -kilang, terutamanya pada talian penghantar dan sistem pemasangan, perkara ketepatan. Gandingan universal gred perindustrian ini mengendalikan sudut dan peralihan dalam penjajaran tanpa melangkaui pukulan, menjaga kelajuan stabil. Ini bermakna kurang masa memperbaiki kerosakan dan lebih banyak masa menjaga pengeluaran di landasan yang betul. Jurutera menyukainya kerana ia menyesuaikan diri dengan misalignments paksi, radial, dan sudut -sedikit pergeseran yang boleh membuang bahagian lain.
Di dalam automotif dan pengangkutan, aci pemacu memerlukan sesuatu yang boleh dipercayai untuk lulus kuasa dengan lancar. SWC-BH sesuai dengan, sama ada dalam trak, kereta api, atau kenderaan lain. Reka bentuk kimpalan flex menjadikannya mudah untuk slot ke dalam persediaan sedia ada, mengendalikan kelajuan tinggi tanpa memotong sudut keselamatan. Ia adalah pemacu aci sejagat gandingan untuk menjaga perkara bergerak.
Kerja -kerja marin dan luar pesisir adalah sukar untuk peralatan -saltwater, cuaca keras, beban yang tidak dapat diramalkan. Gandingan ini memegang sendiri di sini juga. Sebagai gandingan sejagat marin yang tahan karat, ia berdiri untuk semburan garam dan laut kasar, menjaga enjin kapal dan mesin tambahan berjalan secara konsisten. Tiada kegagalan yang berkaitan dengan karat, tiada penutupan yang tidak dijangka.
Penyediaan tenaga boleh diperbaharui seperti turbin angin dan pelacak solar memerlukan bahagian yang tidak membazirkan tenaga. SWC-BH melangkah sebagai gandingan sejagat tenaga boleh diperbaharui, memindahkan kuasa dengan hampir tidak ada tindak balas. Ia memenuhi piawaian kualiti global, jadi sama ada di ladang angin di Eropah atau loji solar di Asia, ia menyampaikan.
Di Raydafon, kami tidak hanya menjual gandingan ini -kami menyesuaikan mereka. Perlukan saiz, bahan, atau tork tertentu? Pasukan kami tweak SWC-BH agar sesuai dengan keperluan tepat anda. Jangkau, dan kami akan membantu anda memanfaatkan sepenuhnya sistem anda.
Apabila anda mencari seseorang untuk dipercayai dengan komponen mekanikal-terutamanya perkara-perkara seperti SWC-BH Standard Flex Welding Type Coupling-RayDafon bukan hanya satu lagi pilihan. Kami adalah pengeluar yang hidup dan bernafas kualiti, dan yang menunjukkan dalam setiap bahagian yang kami buat.
Mula -mula, kualiti bukanlah satu perkara yang menarik bagi kami. Kami menggunakan teknik kejuruteraan peringkat atas dan meletakkan setiap gandingan bersama sejagat-sama ada ia adalah satu tork tinggi untuk jentera berat atau model gred perindustrian untuk persediaan kilang-melalui cek yang ketat. Setiap bahagian memenuhi piawaian ISO 9001, dan kami menguji mereka dengan keras: beban yang melampau, keadaan kasar, apa pun industri anda melemparkannya. Matlamatnya? Tiada kegagalan yang tidak dijangka, kurang risiko untuk operasi anda, dan gandingan yang menjadikan sistem anda berjalan lancar.
Kemudian ada penyesuaian. Mari kita nyata -tiada dua pekerjaan adalah sama. Mungkin anda memerlukan gandingan sejagat pemacu dengan dimensi tertentu, atau gandingan universal propulsion marin yang diperbuat daripada bahan tahan kakisan, atau bahkan gandingan universal tenaga boleh diperbaharui yang disesuaikan untuk tork yang tepat. Kami tidak membuat anda sesuai dengan bahagian "satu-saiz-sesuai-semua". Beritahu kami apa yang anda perlukan, dan kami akan menyesuaikannya ke dalam slot ke dalam persediaan anda yang sedia ada -sama ada dalam sistem automotif, marin, atau solar/angin.
Dan kita juga mendapat masalah kos. Anda tidak sepatutnya memilih antara gandingan yang baik dan harga yang berpatutan. Kami telah mengoptimumkan rantaian bekalan kami dan mengukur pengeluaran kami supaya kami dapat menawarkan kadar yang kompetitif pada bahagian-bahagian khusus yang khusus-seperti penggerak marin sejagat atau model perindustrian yang tinggi-tanpa pemotongan sudut kualiti. Ini mengenai memberi anda nilai yang berlangsung, bukan hanya bahagian murah yang gagal dengan cepat.
Pasukan kami tidak hilang apabila anda memukul "perintah," sama ada. Dari panggilan pertama-apabila anda cuba untuk mengetahui gandingan bersama sejagat yang paling sesuai untuk peralatan tenaga boleh diperbaharui atau barisan kilang-untuk sokongan selepas jualan jika anda mempunyai soalan, kami ada di sini. Kami mempunyai pengetahuan industri bertahun-tahun, jadi kami dapat membimbing anda untuk pilihan yang tepat, membantu anda mengelakkan downtime, dan pastikan gandingan anda melakukan apa yang anda perlukan.
Di Raydafon, kami bukan hanya menjual bahagian -kami sedang membina perkongsian. Kami mahu menjadi pasukan yang anda percayai untuk memastikan operasi anda bergerak ke hadapan, dengan penyelesaian bersama sejagat yang bekerja keras seperti yang anda lakukan. Sekiranya anda mempunyai keperluan khusus, hubungi pakar kami hari ini -mari bercakap tentang bagaimana kami dapat membantu.
Alamat
Kawasan Perindustrian Luotuo, Daerah Zhenhai, Ningbo City, China
Tel
E-mel


+86-574-87168065


Kawasan Perindustrian Luotuo, Daerah Zhenhai, Ningbo City, China
Copyright © Raydafon Technology Group Co., terhad semua hak terpelihara.
Links | Sitemap | RSS | XML | Privacy Policy |
