Kod QR
Mengenai kita
Produk
Hubungi Kami


Faks
+86-574-87168065

E-mel

Alamat
Kawasan Perindustrian Luotuo, Daerah Zhenhai, Ningbo City, China
Sekiranya anda menjalankan kilang -kilang rolling keluli seperti jentera yang mengeluarkan logam semua peralihan, kren mengangkat banyak bahan, atau gear perlombongan yang berperang dengan debu dan tekanan di bawah tanah -anda memerlukan gandingan yang tidak akan membiarkan anda turun. Itulah yang betul-betul apa yang dikimpulkan oleh SWC-BH Standard Flex Welding Raydafon yang dibina untuk: penghantaran tork yang boleh dipercayai, walaupun pekerjaan itu menjadi kasar.
Mula -mula, mari kita bercakap tentang reka bentuknya. Kuk yang dikimpal bukan sekadar ciri-ia adalah penukar permainan. Tidak seperti yokes bolted yang boleh melonggarkan dari masa ke masa, pepejal yang dikimpal ini, jadi tidak ada risiko bahagian -bahagian yang gemetar ketika jentera anda bekerja keras. Dan ia sesuai dengan pelbagai persediaan, dengan diameter gyration dari 180mm hingga 620mm-tidak perlu memburu pilihan satu saiz yang tidak sesuai. Sebagai gandingan universal flex standard, ia mengendalikan sehingga 15 darjah misalignment sudut, yang bermaksud jika aci anda tidak sempurna berbaris (dan mari kita nyata, mereka jarang sekali), ia masih terus bergerak. Walaupun tork mencecah 1250 kn · m -power -erious -ia tetap mantap, tidak ada penyerang, tiada titisan.
Kami tidak berhemat dengan bahan, sama ada. Perkara ini dibuat dengan 35crmo keluli-kuat-kekuatan yang menentang memakai, walaupun ketika ia terbentur di dalam lombong atau dipanaskan berhampiran kilang rolling. Selain itu, kami meletakkan galas jarum ketepatan, jadi ia bergerak lancar, memotong geseran, dan berlangsung lebih lama daripada gandingan yang lebih murah. Itulah sebabnya ia adalah untuk gandingan sejagat untuk jentera berat-ia tidak hanya berfungsi selama beberapa minggu; Ia melekat, menjaga peralatan anda berjalan. Dan jika anda memerlukan gandingan sejagat yang dikimpal untuk aplikasi perindustrian? Ini adalah - reka bentuk yang dikimpal mengendalikan getaran dan tekanan lebih baik daripada alternatif yang dilekatkan, jadi anda menghabiskan lebih sedikit masa untuk menetapkan dan lebih banyak masa bekerja.
Di Raydafon, kami membuatnya di China, tetapi kami tidak memotong sudut dengan kualiti. Setiap langkah mengikuti piawaian ISO 9001 -kami memeriksa keluli, kami memeriksa kimpalan, kami menguji galas -jadi anda tahu anda mendapat gandingan yang memenuhi peraturan kualiti global. Dan jika persediaan anda sedikit berbeza? Kami melakukan tweak adat -menyesuaikan saiz, tweak spesifikasi -apa sahaja yang anda perlukan untuk menjadikannya sesuai. Bahagian terbaik? Ia tidak berharga seperti bahagian mewah. Anda mendapat gandingan sejagat yang tahan lama yang bekerja keras, tanpa membayar kekayaan. Bagi sesiapa yang tidak mampu menempuh downtime, gandingan SWC-BH ini adalah jenis sekeping yang boleh dipercayai yang membuat jentera anda bergerak, hari demi hari.
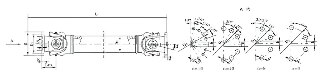
| Tidak | Gyration diameter d mm | Tork nominal Tn Kn · m | Sudut lipat paksi β (°) | Tork yang letih Tf Kn · m | Saiz (mm) | Berputar inersia KG.M2 | Berat (kg) | |||||||||||
| Lmin | D1 (JS11) | D2 (H7) | D3 | Lm | N-D | k | t | b (H9) | g | Lmin | Peningkatan 100mm | Lmin | Peningkatan 100mm | |||||
| SWC100WH | 100 | 1.25 | 0.63 | 25 ° | 243 | 84 | 57 | 60 | 55 | 6-9 | 7 | 2.5 | - | - | 0.0039 | 0.00019 | 4.5 | 0.35 |
| SWC120WH | 120 | 2.5 | 1.25 | 25 ° | 307 | 102 | 75 | 70 | 65 | 8-11 | 8 | 2.5 | - | - | 0.0096 | 0.00044 | 7.7 | 0.55 |
| SWC150WH | 150 | 5 | 25 | 25 ° | 350 | 130 | 90 | 89 | 80 | 8-13 | 10 | 3 | - | - | 0.371 | 0.00157 | 18 | 24.5 |
| SWC180WH | 180 | 12.5 | 6.3 | 25 ° | 180 | 155 | 105 | 114 | 110 | 8-17 | 17 | 5 | - | - | 0.15 | 0.007 | 48 | 2.8 |
| SWC225WH | 225 | 40 | 20 | 15 ° | 520 | 196 | 135 | 152 | 120 | 8-17 | 20 | 5 | 32 | 9 | 0.365 | 0.0234 | 78 | 4.9 |
| SWC250WH | 250 | 63 | 31.5 | 15 ° | 620 | 218 | 150 | 168 | 140 | 8-19 | 25 | 6 | 40 | 12.5 | 0.817 | 0.0277 | 124 | 5.3 |
| SWC285WH | 285 | 90 | 45 | 15 ° | 720 | 245 | 170 | 194 | 160 | 8-21 | 27 | 7 | 40 | 15 | 1.756 | 0.051 | 185 | 6.3 |
| SWC315WH | 315 | 125 | 63 | 15 ° | 805 | 280 | 185 | 219 | 219 | 10-23 | 32 | 8 | 40 | 15 | 2.893 | 0.0795 | 262 | 8 |
| SWC350WH | 350 | 180 | 90 | 15 ° | 875 | 310 | 210 | 267 | 194 | 10-23 | 35 | 8 | 50 | 16 | 5.013 | 0.2219 | 374 | 15 |
| SWC390WH | 390 | 250 | 125 | 15 ° | 955 | 345 | 235 | 267 | 215 | 10-25 | 40 | 8 | 70 | 18 | 8.406 | 0.2219 | 506 | 15 |
| SWC440WH | 440 | 355 | 180 | 15 ° | 1155 | 390 | 255 | 325 | 260 | 16-28 | 42 | 10 | 80 | 20 | 15.79 | 0.4744 | 790 | 21.7 |
| SWC490WH | 490 | 500 | 250 | 15 ° | 1205 | 435 | 275 | 325 | 270 | 16-31 | 47 | 12 | 90 | 22.5 | 26.54 | 0.4744 | 1014 | 21.7 |
| SWC550WH | 550 | 710 | 355 | 15 ° | 1355 | 492 | 320 | 426 | 325 | 16-31 | 50 | 12 | 100 | 22.5 | 48.32 | 1.357 | 1526 | 34 |
Sekiranya anda bosan berurusan dengan gandingan rewel yang melambatkan kerja anda atau memecah apabila anda memerlukannya, SWC-WH Raydafon tanpa flex kimpalan jenis Universal Coupling adalah changer permainan. Ia dibungkus dengan faedah yang menjadikannya pilihan utama bagi sesiapa yang memerlukan penghantaran tork yang lancar dalam sistem mekanikal -tidak ada langkah kimpalan yang mengelirukan, hanya prestasi yang kukuh yang sesuai dengan aliran kerja anda.
Mula -mula, memasang perkara ini adalah lebih mudah daripada yang anda fikirkan. Tidak seperti gandingan yang dikimpal yang memaksa anda untuk membawa alat tambahan atau menunggu kimpalan ditetapkan, SWC-WH menggunakan reka bentuk bolt-on. Anda boleh memasukkannya ke dalam persediaan anda yang sedia ada dengan cepat, dan apabila tiba masanya untuk penyelenggaraan? Mengambilnya adalah angin, jadi gear perindustrian anda menghabiskan sedikit masa terbiar. Itulah sebabnya ia adalah gandingan bersama sejagat yang serba boleh yang hebat-tiada sakit kepala downtime, hanya masuk, menetapkan apa yang anda perlukan, dan kembali bekerja.
Ketahanan-bijak, ia dibina untuk sukar. Kami menggunakan bahan-bahan tugas berat yang mengendalikan beban besar dan getaran berterusan tanpa flinching-sempurna untuk tempat industri yang sibuk di mana peralatan tidak pernah mendapat rehat. Dan kerana tidak ada kimpalan, anda tidak perlu bimbang tentang tempat -tempat yang lemah yang muncul apabila kimpalan haus dari masa ke masa. Ini bukan gandingan yang perlu diganti setiap beberapa bulan; Ia adalah gandingan bersama sejagat yang boleh dipercayai untuk jentera perindustrian yang melekat di sekitar, menjaga operasi anda stabil.
Misalignments? Tiada masalah. Aci tidak pernah tetap berbaris dengan sempurna, terutamanya dalam sistem automotif atau pengangkutan, tetapi SWC-WH mengendalikan penyimpangan sudut, paksi, dan radial seperti pro. Ia adalah jenis pemacu aci universal gandingan bersama yang menjadikan kuasa bergerak lancar walaupun penjajaran mendapat wonky -tiada jeritan, tidak ada titisan, hanya prestasi yang konsisten.
Dan mari kita bercakap kos. Kimpalan menambah buruh tambahan dan yuran bahan, tetapi gandingan ini melangkau semua itu. Anda mendapat produk yang berkualiti tanpa overspending, yang merupakan kemenangan besar untuk sebarang anggaran. Malah di tempat -tempat yang rumit seperti persediaan marin, di mana kakisan adalah ancaman yang berterusan, ia memegang sebagai gandingan bersama sejagat marin yang boleh dipercayai -tough terhadap air masin, mudah di dompet anda.
Sekiranya anda menjadi tenaga boleh diperbaharui, gandingan ini sesuai dengan betul juga. Ia adalah gandingan sendi sejagat yang kukuh untuk peralatan tenaga boleh diperbaharui yang bergerak dengan cekap, dengan hampir tidak ada sisa. Selain itu, ia adalah cahaya, jadi ia tidak menimbang sistem anda -hebat untuk menjaga perkara -perkara yang berjalan lestari tanpa mengorbankan prestasi.
Di Raydafon, kami tidak hanya menjual gandingan -kami membuat yang sesuai dengan keperluan anda. SWC-WH disesuaikan, jadi ia berfungsi dengan tepat bagaimana anda mahu. Sekiranya anda ingin tahu bagaimana ia boleh menjadikan operasi anda lebih lancar, hanya memukul pasukan kami. Kami akan membimbing anda, tidak ada jargon -hanya bercakap lurus tentang apa yang boleh dilakukan oleh gandingan ini untuk anda.
SWC-WH SWC-WH Raydafon tanpa jenis kimpalan flex Universal Coupling berfungsi dari pengetahuan asas mekanik bersama Cardan-tetapi kami telah tweaked untuk memukul lebih keras untuk pekerjaan perindustrian. Keseluruhannya? Dapatkan tork bergerak lancar di antara dua batang yang tidak sempurna berbaris, walaupun ketika mereka berada di sudut. Sebagai gandingan sendi universal SWC Cardan yang dibina dengan tujuan, ia menggunakan sekeping berbentuk silang di tengah-tengah untuk memastikan kuasa berputar mengalir dengan mantap-benar-benar mengapa ia adalah gandingan bersama sejagat yang tinggi untuk kerja keras seperti kilang rolling atau jentera angkat.
Mari kita pecahkan teras bagaimana ia berfungsi: terdapat dua yokes bercabang, dan mereka dihubungkan dengan salib pusat (kita menyebutnya labah -labah). Persediaan ini membolehkan pivot yokes dalam pelbagai arah -jadi walaupun aci diimbangi sehingga 25 ° (itu sudut lipat paksi maksimum), tork masih diluluskan secara merata. Ia mempunyai spesifikasi untuk menyokongnya juga: Diameter gyration berkisar dari φ58 hingga φ620, dan ia mengendalikan tork nominal dari 0.15 hingga 1000 kN · m. Apabila anda menggunakannya sebagai gandingan sendi sejagat yang berat untuk operasi kilang rolling, reka bentuk ini bermakna putaran input berubah menjadi gerakan output tanpa hitch-mereka yang diartikulasikan sendi berputar sendiri untuk membuat misalignments, tiada gangguan.
Apa yang menjadikan bahagian "tanpa kimpalan flex" penting? Kami menukar kimpalan untuk sambungan loteng atau diikat. Kimpalan boleh menjadi bintik yang lemah dari masa ke masa, tetapi pengikat ini mengurangkan risiko kegagalan -dan mereka membuat gandingan bersama -sama dengan lebih mudah. Gandingan sendi universal industri ini juga mempunyai reka bentuk kepala garpu yang dinaik taraf yang menghentikan bolt daripada melonggarkan, meningkatkan kekuatan strukturnya sebanyak 30%-50%. Itulah masalah besar untuk menuntut tempat -tempat seperti lombong atau tapak pembinaan, di mana ia bertindak sebagai gandingan aci bersama SWC yang tahan lama -memegang di bawah beban berat tanpa memberi.
Kecekapan adalah satu lagi kemenangan di sini: Ia mencapai sehingga 98.6% kecekapan penghantaran. Kami merekayasa setiap bahagian untuk mengurangkan sisa geseran dan tenaga-jadi tidak hairanlah ia adalah gandingan bersama sejagat yang cekap untuk penghantaran kuasa besar dalam persediaan perindustrian berkuasa tinggi. Dan ia berjalan tenang: biasanya 30-40 dB (a). Itulah terima kasih kepada putaran seimbang dan redaman getaran terbina dalam-menjadikannya gandingan bersama sejagat yang rendah untuk tempat di mana bunyi bising. Selain itu, ia mengekalkan kos tenaga, jadi ia memeriksa kotak untuk keperluan gandingan bersama sejagat yang menjimatkan tenaga juga.
Dalam jentera berat sistem gandingan bersama sejagat, ini paling penting: SWC-WH merebak ke seluruh bahagiannya. Tidak ada sekeping tunggal yang mengambil terlalu banyak ketegangan, yang bermaksud kerosakan yang lebih sedikit dan kehidupan yang lebih lama. Di Raydafon, kami tidak hanya membina gandingan ini untuk memenuhi spesifikasi -kami menyesuaikannya untuk bekerja untuk pekerjaan anda, sama ada jentera berat lasak atau persediaan industri khusus. Sekiranya anda ingin tweak untuk menjadikan sistem anda berjalan lancar atau bertahan lebih lama, hanya bercakap dengan pasukan kami -kami akan membantu anda mendapatkan persediaan yang sesuai dengan apa yang anda perlukan.
⭐⭐⭐⭐⭐ Zhang Wei, Jurutera Mekanikal, Beijing Industrial Machinery Co., Ltd.
Kami mempunyai SWC-WH Raydafon tanpa gandingan jenis kimpalan flex universal pada peralatan pengeluaran kami selama beberapa bulan sekarang, dan ia menjadi pelaku mantap-terutamanya apabila kami menolak mesin kami untuk mengendalikan beban tinggi. Apa yang saya hargai adalah membina yang mantap: walaupun pada peralihan yang panjang dan menuntut di mana bahagian -bahagian lain mungkin mula goyah, gandingan ini membuatkan perkara -perkara berjalan lancar -tidak ada getaran rawak, tidak ada kegagalan tiba -tiba yang membuang seluruh barisan kami.
Pemasangan juga angin. Pasukan kami tidak perlu menghabiskan berjam -jam memikirkan langkah -langkah yang kompleks; Kami mendapatnya dengan cepat dan tidak perlu tweak sejak itu. Untuk gear tugas berat seperti kita, kebolehpercayaan dan kualiti tidak boleh dirunding, dan gandingan ini memeriksa kedua-dua kotak. Raydafon terbukti mereka adalah rakan kongsi yang boleh kita harapkan di sini -kami benar -benar gembira dengan bagaimana produk ini memegang.
⭐⭐⭐⭐⭐ John Smith, Pengurus Loji, Pembuatan Florida, Amerika Syarikat
Saya meletakkan gandingan SWC-WH Raydafon yang digunakan di kemudahan Florida kami beberapa bulan lalu, dan ia adalah apa yang kami perlukan-mudah, tidak berdosa, dan konsisten berkesan. Transmisi kuasa tetap stabil, yang merupakan kunci untuk mengekalkan pengeluaran kami dengan pantas, dan kami tidak perlu menyentuhnya untuk penyelenggaraan sekali. Itulah kemenangan besar bagi kami; Kurang masa menetapkan bahagian bermakna lebih banyak masa untuk menyelesaikan kerja.
Walaupun kita menjalankan mesin keras, di bawah tekanan yang tinggi, gandingan ini tidak tergelincir -ia hanya terus berjalan. Pemasangan juga mudah; Teknologi kami telah ditubuhkan dalam masa yang singkat. Dan apabila anda memasangkan prestasi dengan harga yang berpatutan? Ia adalah nilai pepejal. Selain itu, sokongan pelanggan Raydafon adalah yang paling baik apabila kami mempunyai soalan yang cepat-mereka kembali kepada kami dengan cepat. Tidak syak lagi kami akan terus menggunakan produk mereka.
⭐⭐⭐⭐⭐ Roberto Silva, Pengarah Operasi, Penyelesaian Kejuruteraan São Paulo, Brazil
Kami telah bekerjasama dengan Raydafon untuk seketika sekarang, tetapi SWC-WH mereka tanpa gandingan Flex telah benar-benar menonjol dalam operasi kami-ia terbukti bernilai masa dan sekali lagi. Perkara pertama yang anda perhatikan ialah pembinaannya yang kukuh; Rasanya dibina untuk bertahan, dan diterjemahkan kepada prestasi yang boleh dipercayai di jentera kami.
Sebelum kami beralih ke gandingan ini, kami berurusan dengan masa yang kerap dari masalah misalignment dan memakai pramatang di bahagian lama kami. Sekarang? Masalah itu hilang. Ia memotong jalan downtime kami, yang telah menjadi rangsangan besar untuk produktiviti. Dan pemasangan? Pasukan Super Easy -kami tidak membuang persediaan penyelesaian masalah masa. Bagi mana-mana syarikat yang memerlukan bahagian penghantaran kuasa yang boleh mereka percayai, ini adalah yang tidak ada lagi. Saya benar -benar mengesyorkannya.
⭐⭐⭐⭐⭐ Peter Müller, Penyelia Teknikal, Stuttgart Manufacturing GmbH, Jerman
Kami telah menggunakan gandingan SWC-WH Raydafon di kemudahan pengeluaran Stuttgart kami selama lebih dari enam bulan, dan ia tidak sempurna-serius, bukan satu isu sepanjang masa. Reka bentuknya adalah mudah, yang membuat pemasangan cinch; Pasukan kami telah dipasang dan bersedia untuk pergi dalam masa yang singkat, tidak ada langkah rumit atau alat khas yang diperlukan.
Apa yang benar -benar mengagumkan saya adalah kualiti. Kimpalan itu bersih dan kuat, dan bahan-bahan merasa gred tinggi-anda boleh memberitahu mereka tidak memotong sudut. Ia dipegang dengan sempurna di bawah penggunaan biasa, menunjukkan tanda -tanda sifar haus walaupun selepas bulan operasi berterusan. Kami lebih gembira dengan bagaimana produk ini berfungsi, dan ia sudah ada dalam senarai kami untuk digunakan untuk projek -projek masa depan.
Alamat
Kawasan Perindustrian Luotuo, Daerah Zhenhai, Ningbo City, China
Tel
E-mel


+86-574-87168065


Kawasan Perindustrian Luotuo, Daerah Zhenhai, Ningbo City, China
Copyright © Raydafon Technology Group Co., terhad semua hak terpelihara.
Links | Sitemap | RSS | XML | Privacy Policy |
